Исследование поведения колебательного звена
Лабораторная работа №1.
Цель работы
- Приобрести первичные навыки для работы с передаточными функциями в SimInTech
Задачи работы
- Ознакомиться с основными особенностями колебательного звена
- Освоить основные приемы работы для описания передаточных функций блоками SimInTech
- Освоить основные приемы работы для построения переходной функции динамического звена
Объект исследования


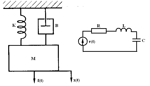
Рассматривается механическая система, состоящей из груза с массой M, пружины с жесткостью K и демпфера с коэффициентом демпфирования B (Рис. 1). Положение груза описывается обобщенной координатой x. Движение механической системы под действием внешней силы f(t) описывается дифференциальным уравнением:
Электрический процесс в цепи, приведенной на рисунке (Рис. 2), описывается дифференциальным уравнением:
- L – индуктивность катушки
- uc – напряжение на конденсаторе
- R – сопротивление резистора
- C – емкость конденсатора
- e(t)– напряжение источника питания
Нетрудно заметить, что механическая и электрическая системы описываются одинаковыми по структуре дифференциальными уравнениями. Эти системы описываются передаточной функцией колебательного звена:
- k – коэффициент усиления
- T – постоянная времени
- b – коэффициент демпфирования (затухания)
Особенности колебательного звена
- при звено 0 < β < 1 называют колебательным, так как его переходная функция носит колебательный характер
- при звено β ≥ 1 называют апериодическим звеном второго порядка, так как в его переходной функции отсутствуют колебания
- при β = 0 звено называют консервативным, так как его переходная функция имеет вид незатухающих колебаний
Выполнение лабораторной работы
В данной лабораторной работе будет:
- создан новый проект
- продемонстрирован процесс установки блоков на схему и их соединения между собой
- продемонстрирован процесс задания свойств блоков
- построен график переходной функции колебательного звена
- изучено влияние значения коэффициента демпфирования на вид переходной функции колебательного звена
Создание нового проекта
- В главном окне SimInTech выбрать пункт Файл подпункт Новый проект
- В выпадающем меню выбрать пункт Схема модели общего вида (Рис. 3).

Рис. 3. Главное окно SimInTech c выделенным меню создания нового проекта.

- В главном окне войти в меню Файл, выбрать подпункт Сохранить проект как...
- В появившемся окне выбрать или при необходимости создать папку, в которую будет сохранен данный проект
- В появившемся окне в поле Имя файла указать желаемое имя проекта, либо оставить имя проекта по умолчанию и нажать на кнопку Сохранить
Добавление блоков на схему
- В главном окне SimInTech в палитре блоков выбрать вкладку Динамические
(Рис. 5).

Рис. 5. Главное окно SimInTech с выделенной вкладкой "Динамические" палитры блоков. - Выбрать блок Колебательное звено одинарным нажатием левой кнопкой мыши по его изображению в палитре блоков
- Перевести курсор мыши на рабочую область окна проекта. В рабочей области окна проекта появится графическое изображение блока Колебательное звено, которое будет следовать за курсором мыши
- Выбрать место в рабочей области окна проекта для установки блока и установить блок
одинарным нажатием левой кнопкой мыши (Рис. 6).

Рис. 6. Окно проекта с установленным блоком "Колебательное звено".
После установки блока на схему возможно его перемещение внутри рабочей области окна проекта. Для перемещения блока необходимо нажать на блок левой кнопкой мыши и, удерживая, переместить.
Соединение блоков на схеме
- Навести курсор мыши на порт блока Константа (курсор мыши изменится на вертикальную стрелку) и нажать левую кнопку мыши
- Появившуюся линию соединить с входным портом блока Колебательное звено и нажать левую кнопку мыши


Перед тем, как приступать к выполнению следующего пункта данного задания, необходимо сохранить проект.
Задание свойств блоков
- Одинарным нажатием левой кнопкой мыши выделить блок Колебательное звено,
затем одинарным нажатием правой кнопкой мыши по выделенному блоку вызвать контекстное
меню блока и в нем выбрать пункт Свойства объекта (Рис. 10).

Рис. 10. Окно проекта с контекстным меню блока. - Откроется окно Свойства, в котором задаются свойства блока (Рис. 11).

Рис. 11. Окно "Свойства" блока "Колебательное звено" со свойствами по умолчанию. - Для изменения свойств блока в поле "Формула" необходимо задать новые значения
свойств согласно рисунку (Рис. 12).

Рис. 12. Окно "Свойства" блока "Колебательное звено" с новыми значениями свойств.
Перед тем, как приступать к выполнению следующего пункта данного задания, необходимо сохранить проект.
Настройка параметров расчета


Закрыть окно Параметры проекта, при этом внесенные изменения сохраняются.
Перед тем, как приступать к выполнению следующего пункта данного задания, необходимо сохранить проект.
Запуск моделирования и построение графика


График переходной функции колебательного звена имеет вид колебательного процесса, поскольку коэффициент демпфирования равен "0.25".

Запустить проект на расчет и дождаться окончания расчета.

График переходной функции консервативного звена имеет вид незатухающих колебаний, поскольку коэффициент демпфирования равен "0".


График переходной функции апериодического звена второго порядка носит монотонный характер, колебания отсутствуют, поскольку коэффициент демпфирования равен "1.5".
Перед тем, как приступать к выполнению следующего задания, необходимо сохранить проект.
Самостоятельная работа
Необходимо построить график переходной функции динамической системы, математическая модель которой реализуется при помощи блока Передаточная функция общего вида из вкладки Динамические. Данный блок описывает передаточную функцию вида:
где bi – коэффициенты числителя, ai – коэффициенты знаменателя.
Коэффициенты числителя и знаменателя передаточной функции следует задавать в свойствах блока Передаточная функция общего вида в виде массивов соответствующих значений. Коэффициенты необходимо записывать в массив в порядке возрастания их индексов. Пример ввода коэффициентов для передаточной функции общего вида:

Вид передаточной функции и значения ее коэффициентов задавать согласно исходным данным, приведенным в таблице (Табл. 1).
| Вариант | Передаточные функции | Значения параметров передаточных функций |
|---|---|---|
| 1 |
|
a0 = 1, a1 = 5 c, a2 = 1,2 c2, a3 = 0,9 c3,a4 = 0,5 c4, b0 = 1, b1 = 3 c, b2 = 0,8 c2, b3 = 0,3 c3 |
| 2 |
|
a0 = 1, a1 = 5 c, a2 = 1,2 c2, a3 = 0,9 c3,b0 = 1, b1 = 3 c, b2 = 0,8 c2 |
| 3 |
|
a0 = 1, a1 = 5 c, a2 = 1,2 c2,b0 = 1, b1 = 3 c |
| 4 |
|
a0 = 1, a1 = 5 c, a2 = 1,2 c2, a3 = 0,9 c3, a4 = 0,5c4, b = 10 |
| 5 |
|
a0 = 1, a1 = 5 c, a2 = 1,2 c2, a3 = 0,9 c3, b = 10 |
| 6 |
|
a1 = 1, a2 = 1,2 c2,a3 = 0,9 c3,a4 = 0,5 c4,b0 = 1, b1 = 3 c, b2 = 0,8 c2, b3 = 0,3 c3 |
| 7 |
|
T0 = 1,6 c, T1 = 1,4 c, T2 = 0,5 c2, T3 = 1,56 c3 |
| 8 |
|
T0 = 2,3 c, T1 = 0,5 c, T2 = 0,87 c2, T3 = 3,06 c3, T4 = 1,6 c4 |
| 9 |
|
k = 0,55 c, T1 = 6 c, T2 = 3,7 c2, T3 = 0,77 c3 |
| 10 |
|
k = 3,5 c, T1 = 7,6 c, T2 = 2,33 c2, T3 = 9,97 c3, T4 = 5,64 c4 |
| 11 |
|
T0 = 78,2 c, T1 = 54,6 c, T2 = 21,73 c2, T3 = 19,7 c3, T4 = 5,3 c4, T5 = 41,1 c5 |
| 12 |
|
k = 8,2 c, T1 = 4,5 c, T2 = 1,7 c2, T3 = 9,2 c3, T4 = 5,3 c4, T5 = 1,1 c5 |
Заключение
В данной лабораторной работе были изучены основные приемы работы для разработки модели передаточной функции и построения графика ее переходного процесса, была изучена зависимость вида переходной функции колебательного звена от значения коэффициента демпфирования.
